pynkocean.com
HOME
About
Contact
Disclaimer
Privacy
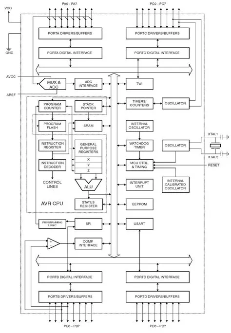
Implementation of AES in ATmega32 Microcontroller
Oct 13, 2025
by pynkocean.com
127
views